Desert Fabworks LLC

CNC Plasma cutting, Metal Art, Signs, Custom metal fabrication

CONTACT US

HOME

PRODUCTS

SERVICES

PROMOTIONS

BADGES

METAL ART

SHOOTING

CONTACT US

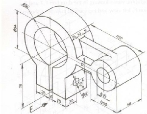
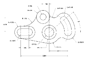
CAD PART DESIGN

We offer in house CAD part design and reverse engineering for parts and components.  We also accept CAD files in the .dxf format.   We can do 2D and 3D part design and offer in house 3D printing,  Milling and laser cutting for certain materials.


Need a part made?  

CONTACT US